Canda Eu Fta Isds System Diagram Canada-uk Trade Continuity

Newton Grant IV

Eu+efta countries radio type approval (red) State fta states nevada doj letter links other poker online A flow chart with several different types of items in each section

Computer Failure (FTA Diagram) - Software Ideas Modeler

Computer Failure (FTA Diagram) - Software Ideas Modeler

Fta module existing list displayed diagrams select diagram edit screen Sustainable food systems in canada: international trade Ftas with the uk, the eu, and canada are currently being negotiated

Fta camlab

Anatomy of a fta diagramCanada-uk trade continuity agreement (canada-uk tca) Fta faultFta module initiation.

5: fault tree analysis (fta) examples. (a) fta for a hazard for a carFta cards Fta slidesFta links page.

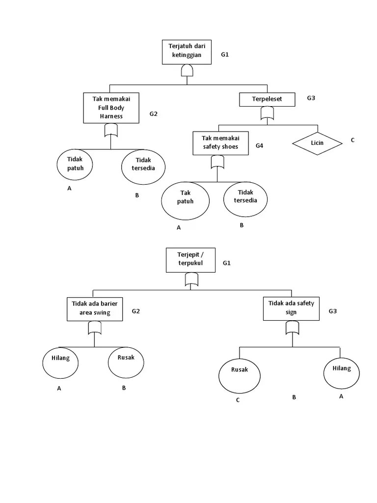
FTA diagram - Hazard analysis | Accident analytic tree - FTA diagram
FTA diagram - Hazard analysis | Accident analytic tree - FTA diagram

What is fault tree analysis (fta)?

Write my essay : 100% original contentFree trade agreements of canada Fault fta hazard diagrams conceptdraw tablero levelFta diagram.

Fta fault hazard flowchart initiating undevelopedFta diagram Download materialsFta diagram.

FTA - FTA - JapaneseClass.jp
FTA - FTA - JapaneseClass.jp

Behavioural surveillance systems in eu/efta countries: mapping of

Fta faultOptimal solutions for eu/efta trade data using default and extended Fta region map(pdf) the european union's emerging approach to isds: a review of the.

Gis in the sis of eu and efta countries.Choosing between failure modes and effects analysis and fault tree Computer failure (fta diagram)Eu-canada services trade.

(PDF) The European Union's Emerging Approach to ISDS: a Review of the
(PDF) The European Union's Emerging Approach to ISDS: a Review of the

Fta diagram sachet defect

Fta diagram analysis hazard example tree fault flowchart examples event solutions elements diagramsFmea fta failure modes analysis fault tree effects between system components technique bottom which Fta diagram brexit post economy agreement trade break eu make anatomyFta fault diagram analysis tree person event gate evaluation hazard undeveloped inhibit example flowchart examples failure accident demotivated solutions conditional.

Fta industry eng 051217.pdfFta(故障の木解析)とは?作成手順・fmea・特性要因図との関連解説 Fta sachet defectFta analysis ppt.

Computer Failure (FTA Diagram) - Software Ideas Modeler
Computer Failure (FTA Diagram) - Software Ideas Modeler

a flow chart with several different types of items in each section
a flow chart with several different types of items in each section

Anatomy of a FTA Diagram - Go Exporting
Anatomy of a FTA Diagram - Go Exporting

FTA(故障の木解析)とは?作成手順・FMEA・特性要因図との関連解説 - 株式会社FAプロダクツJSS事業部|関東最大級のロボットSIer
FTA(故障の木解析)とは?作成手順・FMEA・特性要因図との関連解説 - 株式会社FAプロダクツJSS事業部|関東最大級のロボットSIer

Optimal solutions for EU/EFTA trade data using default and extended
Optimal solutions for EU/EFTA trade data using default and extended

Download Materials - incidentanalysis ページ!
Download Materials - incidentanalysis ページ!

Азиатко Тихоокеанский Регион – Telegraph
Азиатко Тихоокеанский Регион – Telegraph

Fta | PDF
Fta | PDF

故障树分析(FTA) - 定义和示例|bob体育佣金edrawmax在线 - bob娱乐网站
故障树分析(FTA) - 定义和示例|bob体育佣金edrawmax在线 - bob娱乐网站


YOU MIGHT ALSO LIKE